- Статус
- Offline
- Регистрация
- 25 Окт 2021
- Сообщения
- 11
- Лайки
- 432
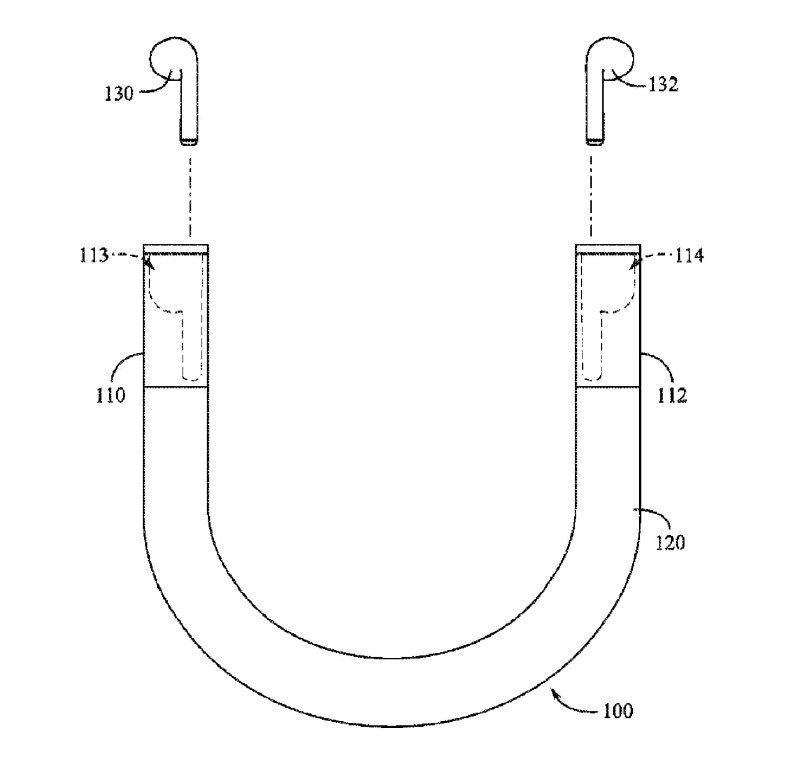
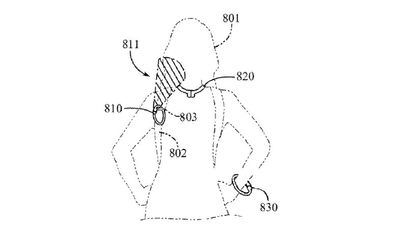
Apple Для просмотра ссылки Войди или Зарегистрируйся кейс для AirPods в виде ожерелья, браслета и брелка для ключей одновременно.
Кроме того, из такого чехла Apple хочет сделать динамик, который будет направлять звук прямо на пользователя, избегая посторонних. Как это выглядит — смотрите на фото.
Вообще, идея офигенная. Будем надеяться, что этот кейс релизнется, а не просто останется в патентах, как это бывает обычно.
@encryptedch
Кроме того, из такого чехла Apple хочет сделать динамик, который будет направлять звук прямо на пользователя, избегая посторонних. Как это выглядит — смотрите на фото.
Вообще, идея офигенная. Будем надеяться, что этот кейс релизнется, а не просто останется в патентах, как это бывает обычно.
@encryptedch

